KPZ系列带式输送机用自冷盘式制动装置
1概述
1.1用途与型号
KPZ系列自冷盘式制动装置主要用于带式输送机的软制动停车,由于其属常闭式结构,因此也具有定车作用。其型号含义为:

1.2主要技术性能
1)与电控装置配合,使带式输送机的停车减速度保持在0.1-0.4m/s2;
2)系统突然断电时,仍能保证带式输送机平稳地减速停车;
3)与电控装置配合,在有载工况下起动带式输送机时,具有平稳起动性能;
4)液压控制系统采用液压自动反馈控制,工作可靠性高。
1.3适用环境
1)工作环境温度不大于40°C;
2)无显著摇摆和剧烈振动、冲击的场合;
3)无足以锈蚀金属的气体及尘埃的环境;
4)无滴水、漏水的地方;
5)适用于煤矿井下需要防爆的场合。
2.制动装置工作原理
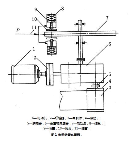
图1是盘式制动装置在系统中的布置示意图。它主要由制动盘7和盘式制动器(8,9,10)组成。为避免制动中产生火花,须限定制动盘的线速度。通常制动盘应与减速器的某一低速轴相连。也可以直接制动滚筒实现各种工作制动。
盘式制动装置的制动力是由闸瓦10与制动盘7摩擦而产生的。因此调节闸瓦对制动盘的正压力可改变制动力。而制动器的正压力N的大小决定于油压P与弹簧8的作用结果。
带式输送机正常工作时,油压P达大值上限,此时正压力N为0,并且闸瓦与制动盘间留有1-1.5mm的间隙。即制动器处于松闸状态。当带式输送机需制动时,控制系统控制液压站泵电机停电,电液控制系统将按预定的液压自动调节方式减小油压以达到制动要求。
本制动装置在环境温度为30℃时,每小时制动10次,盘的高温度上限远小于150℃,并且无火花产生。

